摆线针轮减速机

    摆线针轮减速机行星传动的传动原理

    发表日期:

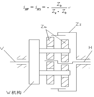
    摆线针轮减速机行星传动示意图。其中为针轮,为摆线行星轮,H为系杆,V为输出轴。运动由系杆H输入,通过W机构由V轴输出。同渐开线一齿差行星传动一样,摆线针轮减速机传动也是一种K-H-V型一齿差行星传动。两者的区别在于:摆线针轮传动中,行星轮的齿廓曲线不是渐开线,而是变态摆线,中心内齿采用了针齿,以称针轮,摆线针轮减速机传动因此而得名。 同渐开线少齿差行星传动一样,其传动比为  
    图3-1 摆线针轮减速机原理图     由于=1,故=-,“-”表示输出与输入转向相反,即利用摆线针轮行星传动可获得大传动比。 


版权所有 © 2016 江苏泰强减速机有限公司 
热线:400-6116-258   传真:0510-68939922
邮箱:28344966@qq.com    苏ICP备13061357号-11
本站关键词:摆线针轮减速机 摆线减速机 圆柱齿轮减速机 齿轮减速机 齿轮减速电机 减速电机